Получайте Бонусы за статьи
8 ноября 2024
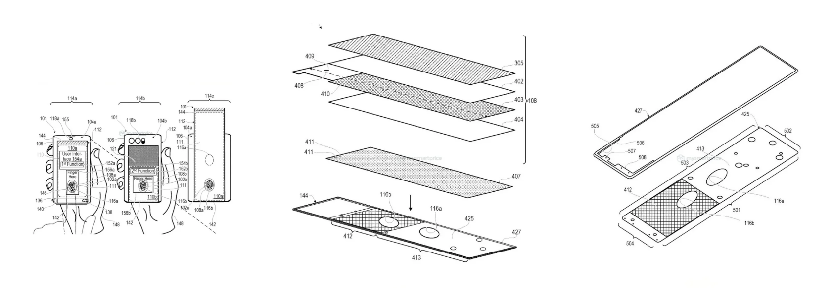
Motorola разработала сканер отпечатков на весь экран 
1 0 1 238 2 мин
Новости

Motorola разработала сканер отпечатков на весь экран 

Теперь не придется прикладывать палец к определенному месту для разблокировки смартфона! Уже даже назвали первый смартфон, который получит такой сканер.

Дарим 1000 рублей за установку приложения «М.Видео»!

Установить

Компания запатентовала свою идею. Суть в том, что внутри гибкого экрана будет много сканеров по всей площади дисплея. Правда, пока непонятно, будет ли какая-то «слепая зона».

Ожидается, что первым смартфоном, который получит такой полноформатный сканер отпечатков пальцев, будет Motorola Rizr, который представили на выставке MWC 2023.

Понравилась статья?

Комментарии

Авторизуйтесь, чтобы иметь возможность писать комментарии:

Похожие статьи

Новости Акции 2 мин 17.10.2024
«М.Видео» разыгрывает 11 квартир: как принять участие
14 483 24 10 19 0

Спасибо, что вам есть что сказать

Попробуйте расширить свою мысль и написать статью — и получите за это Бонусы.

Написать статью Подробнее